The Rushlight Club's summer meeting was held in conjunction with the 46th Gathering of the National Association of Aladdin Lamp Collectors (NAALC); The Embassy Suites was the perfect venue with river views, a huge enclosed courtyard and suites that conveniently allowed for displaying lamps for sale in guest rooms. Tom and Maria Hopp. the General Knights, were the local Aladdin members responsible for organizing the meeting.

The meeting began on Wednesday when the Knights of the Round Table (referred to as the KRT) held their business meeting luncheon in the convention center club room. Bill Courter introduced the KRT and what role each volunteer was providing at this Gathering. The afternoon was open for lamp hunting and as the hotel was walking distance to two restaurants, it made for a pleasant evening stroll along the river to dinner.
Thursday saw rooms open for lamp hunting and that evening the Reception Dinner was the opening event with Bill Courter, the "Bright Knight", as master of ceremonies, After dinner the program began with the unveiling of the auction and raffle quilts. This year's design featured butterfly pattern squares. As is traditional, a raffle was held to subsidize Gathering costs and many participants went away with donated items.
On Friday the first of a half-dozen educational seminars started at 8am. Kirk Womack and Dan Mattausch were the KRT responsible for lining up speakers and scheduling the seminars. It paid to be prompt; as many seminars had standing-room only. The Lamp Show opened to registrants at noon. The Rushlight Club table manned by Pat Howell and Don and Donna Schoenly featured a display of candle snuffers.


Friday evening was The Rushlight Club banquet with an excellent salmon entrée. After dinner, Rushlight Club President Donna Schoenly asked Bill Courter to light the rush and then presented him with a certificate and medal for the Club's highest honor, the Leroy Thwing Award.


After the Rushlight banquet, there was an optional moonlight cruise on the Illinois River. The two-hour round-trip excursion was on a traditional paddle wheeler equipped with an air-conditioned lounge and a country music band. Educational seminars began Friday afternoon and Rushlight member Mel Zaloudek presented a seminar titled "Lantern Wars: 19th Century Litigation by Dietz and Irwin." Using on-screen patent and lantern images, Mel detailed designs other manufacturers tried while attempting to circumvent the Dietz and Irwin lantern patent.


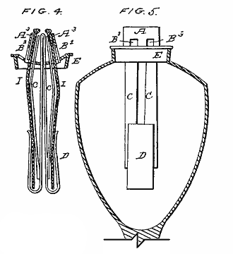
Seminars continued on Saturday with Dan Mattausch giving an introduction to lard lamps and Keith Letsche's presentation of "Lardapolooza: Pigs make Light!" Keith had a display of lard lamps in the Gathering display room and he brought numerous examples of lard lighting from that exhibition to show at his talk. A list of patents and photos of some of the lamps displayed are shown below.
After lunch Stan Walker and John Stringham presented "Lighting Your Aladdin Lamp." Kirk Womack concluded the seminars with "Burning Early Aladdin Lamps."
The Lamp Show closed Saturday afternoon with many happy buyers and sellers. Several Rushlight members set up tables to sell including Fred and Connie Bohl. Fred said he had "the best show ever," something to keep in mind for Rushlight Club lamp dealers for next year.
Saturday evening was the final event with the Aladdin Knights' banquet. The round tables were set for eight with two desserts set alternately, so dinner started with a scramble for the dessert of choice. Following the meal, the Aladdin lamp burned at each table was "won" by one person seated at that table. The Gathering ended with a raffle for the show quilt. Bill Courter thanked everyone for coming and invited all to attend the next Gathering to be held July 24th - 28th, 2019 in Coralville, Iowa.
Images from the patent drawings show the internal construction. A means to conduct burner heat to melt the fat and/or a pump or plunger to force the semi-solid fuel to the burner are common characteristics of these lamps. Full patent listings may be obtained from the U.S. patent website.
patft.uspto.gov/netahtml/PTO/srchnum.htm






Note:
The Mateby and Neal patent lard lamp shown above, is often incorrectly referred to as a "Maltby" and Neal lard lamp. This is because Mateby was misspelled, on the first (drawing) page only, of the patent grant.





Note:
The lamp at left was manufactured by Tilton and Sleeper using the Smith & Stonesifer patent No. 11497, shown above, under license.
The Rushlight Club Inc. www.rushlight.org